A Case Report of an Atypical Presentation of Fournier’s Gangrene
ABSTRACT:
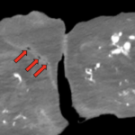
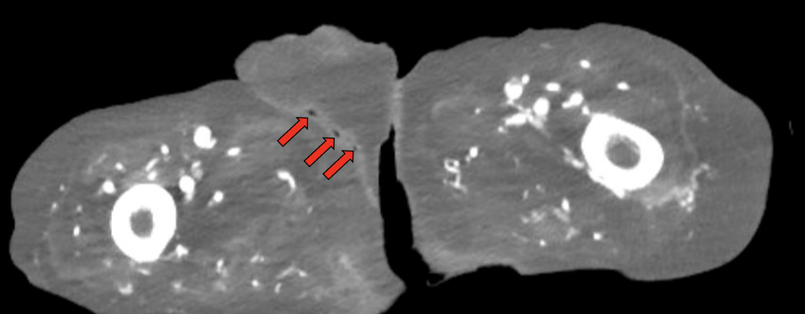
Fournier’s gangrene is a well-established surgical emergency as patients can decompensate rapidly, resulting in significant morbidity and mortality. We describe a case in which a 54-year-old medically complex male presented to the emergency department (ED) with a primary complaint of abdominal pain after a therapeutic paracentesis was performed by interventional radiology just prior to arrival. Upon further questioning, the patient reported scrotal pain that had developed over three to four days. On exam, the patient was well-appearing although he did have scattered scrotal masses with chalky white purulence. Given the relatively quick development, an atypical presentation of Fournier’s gangrene was suspected, and the patient was started on antibiotics with urology immediately consulted. Imaging was concerning for subcutaneous gas. The patient was subsequently taken to the operating room (OR) for debridement, where Fournier’s gangrene was confirmed by surgical investigation and culture. Significant lessons from the case include the importance of early identification of Fournier’s gangrene and having a low threshold to start treatment in coordination with a surgical service for atypical presentations.
Topics: Fournier’s gangrene, bilateral epididymitis, scrotal pain, urologic emergency, renal transplant.





